การนำเลนซ์นูนไปใช้งาน
สารกึ่งตัวนำเป็นแหล่งของแสงหรือเป็นตัวจับแสงจะมีเลนซ์นูนสร้างติดมาในตัว ตัวอย่างต่อไปนี้เป็นการอธิบายและแสดงวิธีใช้เลนซ์ภายนอกเป็นแหล่งแสงและตัวจับแสง
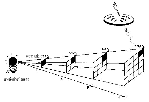
แสงเดินทางด้วยความเร็ว 186,291 ไมล์/วินาที หรือ 300,000 กิโลเมตร/วินาที เมื่อแสงออกจากแหล่งกำเนิดแสงก็จะแพร่กระจายออกไปความเข้มจะเป็นอัตราส่วนผกผันต่อระยะทางยกกำลังสอง หรืออีกนัยหนึ่งถ้าระยะทางเป็น 3 ความเข้มจะเป็น 1/9 ของความเข้มเมื่อระยะทางเป็น 1 แต่เลนซ์นูน (CONVEX LENS) จะขจัดความเข้มที่ลดลงได้

มุมของลำแสงที่กระจายบอกค่าเป็นเรเดียน (RADEAN) คือ เส้นผ่าศูนย์กลางของแหล่งแสง หารด้วยความยาวโฟกัสของเลนซ์ หมายความว่า เลนซ์ที่มีความยาวโฟกัสที่ยาวกว่าจะให้ำแสงที่แดงกว่า แต่เลนซ์ที่มีความยาวโฟกัสมากจะรวมแสงได้น้อยกว่าเลนซ์ที่มีความยาวโฟกัสสั้น
1 เรเดียน = 57.3 องศา วงกลมมี 360 องศา

ถ้าวางเลนซ์ให้อยู่ในวงกลมจุดไข่ปลาแสงทั้งหมดจะถูกรวม (Focus) ให้อยู่ในส่วนที่มีความไวที่สุดของตัวรับแสง วิธีนี้จะชนะกฎผกผันกำลังสองได้
ผู้เขียน : พิษณุ วิทยศิลป์และมังกร หริรักษ์
เรียบเรียงจาก : หนังสือสู่โลกอิเลกทรอนิกส์ หน้าที่ 76
